Sikker fastgørelse Sekskantet boltemballage er designet til at holde dem organiseret og forhindre skader. Disse emballagebokse kommer med en blød foring, der har monteret slidser. Boltene sidder i dem head-to-head, så hver sekskantbolt bliver siddende. Dette gør dem hurtige at plukke og placere og forhindrer ridser i forsendelsen. Til bulktransport er sekskantede bolte ofte pakket 500 styk pr. pose. Disse poser lægges derefter i indvendige kasser og forstærkede trækasser for at holde lasten stabil. For kritiske industrier kan højspecifikke emballagemuligheder opfylde strenge militære standarder. Dette kan omfatte forseglede, fedttætte og vandtætte poser, der beskytter boltene mod korrosion under opbevaring og forsendelse.
Karakteren på en sekskantbolt viser dens styrke. Disse karaktermærker er på boltehovederne for nem identifikation. Almindelige ISO-klasser omfatter 4.6, 8.8, 10.9 og 12.9. Grade 8.8 er en almindelig mellemstyrkebolt, mens 10.9 og 12.9 er højstyrke og bruges i krævende områder som biler og byggeri. ASTM-standarder som A307 og A325 definerer også boltens ydeevne. At vælge sikker fastgørelse af sekskantet bolt den korrekte kvalitet er nøglen til sikkerheden, da den sikrer, at bolten kan håndtere belastningen uden at svigte.
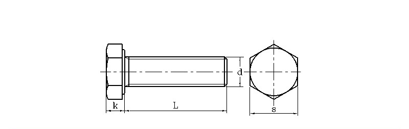
| mm | |||||||
| d | S | k | d | Tråd | |||
| max | min | max | min | max | min | ||
| M3 | 5.32 | 5.5 | 1.87 | 2.12 | 2.87 | 2.98 | 0.5 |
| M4 | 6.78 | 7 | 2.67 | 2.92 | 3.83 | 3.98 | 0.7 |
| M5 | 7.78 | 8 | 3.35 | 3.65 | 4.82 | 4.97 | 0.8 |
| M6 | 9.78 | 10 | 3.85 | 4.14 | 5.79 | 5.97 | 1 |
| M8 | 12.73 | 13 | 5.15 | 5.45 | 7.76 | 7.97 | 1.25 |
| M10 | 15.73 | 16 | 6.22 | 6.58 | 9.73 | 9.96 | 1.5 |
| M12 | 17.73 | 18 | 7.32 | 7.68 | 11.7 | 11.96 | 1.75 |
| M14 | 20.67 | 21 | 8.62 | 8.98 | 13.68 | 13.96 | 2 |
| M16 | 23.67 | 24 | 9.82 | 10.18 | 15.68 | 15.96 | 2 |
| M18 | 26.67 | 27 | 11.28 | 11.7 | 17.62 | 17.95 | 2.5 |
| M20 | 29.67 | 30 | 12.28 | 12.71 | 19.62 | 19.95 | 2.5 |
Kan du forklare materialesammensætningen og korrosionsbeskyttelsesmulighederne for dine Secure Fastening sekskantede bolte?
Vi producerer vores sekskantbolte i forskellige materialer som lavkulstofstål, stærkere legeret stål og rustfrit stål (A2-304 og A4-316). Til beskyttelse mod rust tilbyder vi belægninger såsom elektro-galvaniseret zink, varmgalvanisering og Dacromet. At vælge den rigtige belægning har betydning for, hvor længe bolten holder, især på barske steder som byggepladser eller nær havet.
